
ABB 宣布通过新的直流输入版本扩展其 MPR 电源产品线。交流输入和直流输入电源的外形尺寸均为 9 x 2.15 x 1.57 英寸,可为各种应用提供紧凑的解决方案。新版本为设计人员提供高密度解决方案,额定输出功率为 700 瓦 @ 12Vout。
从历史上看,无论设备在计算层次结构中的哪个位置,服务器和支持它们的电源都有不同的外形因素。在数据中心,基本上有三类设备——用于计算的服务器、用于网络的路由器和交换机以及存储设备。这三个构建块结合起来成为数据中心机柜或 19 英寸机架的主要主力。
“在数据中心和云计算中,电源必须满足特定的行业标准要求,同时还要不断发展以满足日益耗电和密集设备的需求,”ABB 高级产品经理 Raj Radjassamy 说。“我们正在使用 MPR0712 电源帮助解决这些电源需求和占用空间的挑战。”
他继续说道,“有很多这样的规格,每个人都想拥有自己的规格。因此,作为供应商或供应商,我们必须选择我们想去的地方,因为在每个领域都具有挑战性,我们希望将资源集中在合适的市场和合适的机会上。这就是我们决定专注于MPR 712的特定尺寸的原因。”
电源是生产和自动化的一个动态方面。由于停电,公司损失了数十亿美元。为公司和工厂结构提供由数字控制支持的强大、高效且易于管理的解决方案,可以保护生产过程。今天的工业电力系统通常是模块化的,允许智能设施运营的可扩展开发。
行业标准
充足的电源不仅必须符合特定的电气特性,还必须符合机械强度,以确保良好的稳健性。主要解决方案必须在振动、声学噪声和温度方面符合 IEC 规范,并进行一系列测试。
“我们对我们的产品进行了严格的测试,以确保在各种 *** 作条件下实现最佳运行并满足所有要求的标准和规范。在振动方面,我们可以容忍高达 1.11 G 的随机振动和 2G 的正弦扫描振动,”Radjassamy 说。
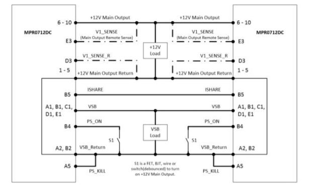
MPR0712DC 系列提供来自直流输入电源的高效隔离电源。符合行业标准PMBus ® 的 I2C 通信总线提供全方位的控制和监控功能(图 1)。
PMBus 接口有助于电源管理,使电源系统架构的开发人员能够轻松控制关键 *** 作参数。PMBus 协议还可用于设置温度、Vin、Vout、Iout 的警报标志,并允许用户自定义参数,例如 Vin、Vout、输出过压保护、输出电流限制和斜升,仅列举最重要的参数.
多年来,工业应用采用了多种控制电压,因此选择直流解决方案。在工业应用中,有带有可拆卸背板的面板,可为继电器、接线端子和电源等各种组件提供一个简单的安装平台。

图 1:输出接线图(来源:ABB)
MPR0712系列
MPR0712TE(交流输入版本)和 MPR0712DC(直流输入版本)电源单元可互换,为需要两种输入选项的终端应用设计提供更大的灵活性。MPR 整流器的功率密度为 23 瓦 (W)/英寸,在 50% 负载时能效高达 94%,达到铂金 80 PLUS 等级(图 2 和图 3)。
MPR0712TE 具有 90 至 264 伏的前交流输入、+12 伏直流的后输出和 700 W 输出功率。MPR0712DC 具有 -44 至 -72 伏直流电压的前置输入和 +12 伏直流电压的后置输出,输出功率为 700 W。交流和直流版本均可在 -5 至 50°C 的宽温度范围内运行.
“我们在行业中看到的一个转变是我们所谓的中板架构的实施。现在我们不再使用背板并通过机架背面为电源设备供电,而是在机架中间提供电源。因此,这意味着在 36 英寸深的机架中,背板现在将约为 18 到 20 英寸,然后是中板架构。这使我们的客户能够将更多功能和计算能力打包到每个机架中,但也要求我们重新考虑电源和组件的占用空间。使用中板架构,您现在需要更小的电源,而不是以前使用的 15 英寸或 24 英寸电源。为了适应中板架构,电源现在需要少于 10 英寸长。

图 2:中板与背板架构(来源:ABB)

图 3:MPR0712 的温度与输出功率(来源:ABB)
他继续说道,“我们开发了 700 瓦 MPR0712 电源,用于数据中心领域的最佳位置——为中低端服务器供电。这个空间需要 700 瓦的功率输出,而且我们能够以适合中板架构的占位面积提供它。这可以实现更好的冗余、更好的使用系数和电源使用,并且利用率也会上升。因此,通过这些 700 瓦电源,我们可以支持数据中心中的大部分(如果不是全部)网络设备,包括中低端服务器、路由器、交换机和存储元件。”
一个让不同客户感到失望的关键点是如何充分利用功率水平,在这种情况下为 700 W,即使温度值高于 40°,例如。
图 2:输出功率降额与环境入口温度的关系
“关键问题是:我们如何在最大工作条件下提供符合客户规格的最大功率,同时在功率速率下保持效率?这是两件重要的事情。我们可以将效率保持在 96%,但关键是您在什么负载即功率水平下保持效率。这就是热管理发挥作用的地方。当我说到热管理时,我总是关注两件事:在不降额的情况下,我可以在工作温度条件下提供的最大功率是多少,以及效率是多少?因此,如果我能够在工作温度条件下以 700 瓦的全负载提供 94% 的效率,那么这是最好的解决方案,因为没有降额。我需要优化我的设计以提供这样的解决方案,”Radjassamy 说。
电源配备了附加功能,例如有源均流、远程感应和功能。MPR 电源还具有内置过压、过流和过温保护功能,有助于提高安全性和可靠性。
通过为网络区域使用高效电源可以实现的潜在节省非常高。这种效率的提高还意味着可以在不影响功耗(包括冷却)的情况下添加额外的硬件。
审核编辑:刘清
欢迎分享,转载请注明来源:内存溢出
微信扫一扫
支付宝扫一扫
评论列表(0条)