
近日,《关于加快发展数字家庭提高居住品质的指导意见》发布,明确指出对新建全装修住宅要求户内设置火灾自动报警设备在内的楼宇对讲、入侵报警、火灾自动报警等基本智能消防产品要求。住建部在几天后还公布了一则相关通知,宣布在北京、广州等31个市县开展既有建筑改造利用消防设计审查验收试点,旨在创新适应城市更新过程中既有建筑改造利用的建设工程消防设计审查验收工作机制,探索既有建筑改造利用消防设计审查验收管理简化优化路径,形成可复制可推广的经验。本文探讨当前消防应用中关键的烟雾探测器解决方案存在的不足,分析基于ADI公司创新的双光源传感器模拟前端的集成化解决方案ADPD188BI的系统设计方法。
半个世纪的烟雾探测进化史
从20世纪70年代开始,烟雾探测器已被广泛用于商用和住宅建筑中。如今,探测器主要分为两类,一是电离类型,使用放射性物质来电离空气,然后检测电荷不平衡;二是光电类型,使用光电探测器对某个角度发射的光源,并检测从大气尘粒反射到光电二极管的光所引起的光电探测器电流。尽管推荐使用这两种类型的解决方案的组合,但人们更愿意使用光电烟雾探测器,因为它在探测常见的房屋火灾时更可靠,且能够更快处理阴燃火。
遗憾的是,自20世纪70年代以来,电子和常用的家居建材取得了长足发展,但烟雾探测器技术和规范几乎未发生任何变化。对标准的新修订,例如由美国保险人实验室(UL)发布的ANSI/UL-217和ANSI/UL-268,或者由国家消防机构(NFPA)发布的NFPA® 72 国家火灾报警规范,都旨在通过对现代烟雾探测器设计提出更复杂的要求来解决这些差距。
模拟测试,水蒸气导致传统方案很快报警,而双光检测方案没有出现误报
例如,除了传统的火灾和烟雾探测灵敏度测试之外,更新版的UL-217标准现在还要求烟雾探测器不会在发生干扰事件时发出误警报,比如在做饭时。所以,现代的烟雾探测器必须能够区分烹饪干扰事件和火灾事件。
这些新标准的目标是:通过减少日常活动中产生的误警报次数来提高安全性和减少火灾死亡人数。一个有很多人的大型建筑物中,疏散成本非常高,当然误报导致用户主动禁用的危险成本更高。因此,这些新法规的重点是每种类型的烟雾检测都要使滋扰警报接近0,这意味着需要更好的烟雾检测。另外还要更清楚地识别出烟雾类型。
双光源解决传统探测机理下的误报隐患
典型烟雾探测器中使用的大致可以归结为两类:电离和光电。电离实际上就是使用两片极板,两个极板之间存在压差。还有一个辐射源,它使空气离子化,允许电流从一个电极流到另一电极。这个电流是恒定的,它在空气中总是存在,它很少发生变化,微小的变化没有任何意义。但是,当烟雾源进入腔室并开始与从一个电极传播到另一个电极的离子键合时,该电流就会中断。电流的中断在某种程度上等效于烟雾探测器外部发生的烟雾源或烟雾事件,此时它会报警。
电离烟雾探测器非常适合检测快速燃烧的火灾,例如纸火、柴火或某些合成材料着火。现在通常使用的是第二种技术——光电类型。传统上,这些方法对于缓慢燃烧的火灾,行业称之为阴燃的火灾非常有用。如何避免类似烹饪烟雾导致误报,传统的解决方案的监测机理成了明显的短板。为此,UL新增一项测试,即汉堡包烟雾干扰报警测试。在该测试中,必须能够区分汉堡包肉饼产生的烟雾浓度和易燃聚氨酯产生的烟雾度。这项测试有助于降低厨房的误报率。
这种汉堡包烟雾干扰测试旨在复制真正的烹饪烟雾。汉堡包烟雾干扰报警测试的概念很简单,但即使是现代烟雾报警器也面临着一个挑战:汉堡肉饼需要煎烤一定的时间。在这个过程中,会检查确认烟雾报警器是否由上升的烟雾(在一定的时限 内开始上升)触发。这也是一项标准化测试,所以可以在完全相同的条件下对所有烟雾报警器进行测试。
为了进行烟雾检测,ADPD188BI采用双波长技术,两个集成LED发出两种不同波长的光:一种为470 nm(蓝光),另一种为850 nm(红外光)。这些LED在两个独立的时隙中发出光脉冲,发射的光被空气中的颗粒物散射回器件上。然后,两个集成的光电检测器接收散射的光并产生成比例的输出电流,该电流在内部由AFE转换成数字码。假设LED光功率保持恒定,如果ADPD188BI输出值随时间而增大,则表明空气中的颗粒物在增加或聚积。
双色光ADPD188BI芯片封装结构图
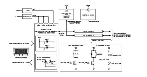
ADPD188BI光学模块是专为烟雾检测应用而设计的完整光电式测量系统。用ADPD188BI代替传统的分立式烟雾检测器电路可大大简化设计,因为光电子器件和模拟前端(AFE)已集成到同一个封装中。该模块集成了高效光度学前端、两个发光二极管 (LED) 和两个光电二极管 (PD)。这些器件密封在自定义封装中,可防止 LED 发出的光线在进入烟雾探测腔之前直接照射到光电二极管。ADPD188BI的前端包含一个控制块、一个配备 20 位脉冲蓄能器的 14 位模数转换器 (ADC) 和三个可独立控制的灵活 LED 驱动器。控制电路包括灵活的 LED 信号传递和同步检测功能。模拟前端 (AFE) 具有抑制调制干扰导致信号失调和破坏(通常由环境光所致)的一流特性。

基于ADPD188BI光学模块的UL-217烟雾探测器参考设计
消防无小事,烟雾探测走向高可靠时代
当前烟雾探测标准新推出的汉堡包烟雾干扰测试很难通过,因为煎烤汉堡肉饼时产生的烟雾颗粒与正常的烟雾颗粒差别不大。所以,烟雾传感器需要具备高信噪比,以区分汉堡肉饼产生的烟雾和其他类型的烟雾。在这个过程中,传感器之间的低差异具有决定性的作用。只有可靠地完成测量并通过测试,才能减少最终应用中的烟雾传感器误报。
当传统的解决方案面对应用出现短板,另辟蹊径是出路,ADPD188BI的双波长光源支持双色检测,是一款高度灵敏的集成传感器模块,不仅具备高信噪比,还能充分减少器件之间的差异,从而简化了设计和算法开发。ADI在2020年11月发布了基于ADPD188BI的,有助于快速实现小尺寸、低功耗烟雾探测器原型设计的参考设计和算法,能使烟雾探测器以更低的成本更快推向市场。新发布的CN0537可降低设计风险,并已经过测试和验证,符合UL 217烟雾报警器标准(第8版)。
该参考设计采用ADI的ADPD188BI高性能光学传感器内核,并配合使用精密烟雾腔,以减少误报。该考设计通过UL 217(第8版)测试和验证的烟雾与火灾探测算法;提供用于算法开发的数据包,包括通过UL-217认证设备获取的超过1,000个烟雾数据集,并提供数据预处理、初始化、校准和环境补偿源代码的软件。采用Arduino外形尺寸的烟雾探测器参考设计,用于快速原型设计和开发,而且低功耗硬件设计和计算复杂度较低的算法,帮助延长电池寿命,缩减电池尺寸和成本。
欢迎分享,转载请注明来源:内存溢出
微信扫一扫
支付宝扫一扫
评论列表(0条)