
索尼互动娱乐(SIE)推出的PlayStaTIon5目前在业界占据主导地位,甚至在虚拟现实(VR)方面也是如此,这要归功于PlayStaTIonCameraAdaptor。
然而,该公司在VR方面的发展方向却有点神秘,即使它展示了具有触觉反馈和有助于舒适度的传感器的设计。
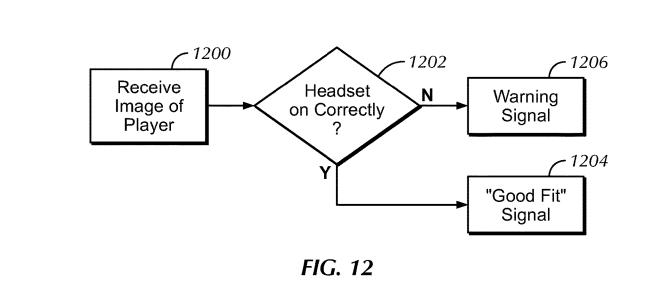
在LetsGoDigital的发现下,本周的专利申请公开展示了索尼一种旨在确保玩家正确佩戴耳机以免在使用过程中引起不适的设计。
描述指出:“传感器会产生信号,表示计算机游戏耳机是否正确佩戴,以便建议佩戴者。该传感器可以是耳机上的压力传感器,运动传感器或拉伸传感器,也可以是为佩戴者成像并使用图像识别来确定耳机是否正确打开的照相机。”

那肯定是一个独特的功能,对于新主人或在公共场合使用特别有用。当涉及重量或可用性时,拥有所有这些传感器的实用性是另一回事,特别是如果指示适合的信号是在游戏中期进行的。

该专利的另一个有趣的部分建议直接在耳机本身中提供触觉反馈。我们都习惯于在控制器中或通过背心使用触觉,但是让VR头戴式耳机隆隆声将是非常不寻常的。该专利读到:“一个或多个触觉反馈发生器可以安装在头戴式耳机上,以期在短期内公开。”
值得一提的是,该专利是SIE在2016年9月(即PlayStaTIonVR推出前不久)提交的。因此新的PlayStaTIonVR可能具有的功能。尽管索尼的研发工作正在开发新设备,但它的外观和运行方式仍有待观察。
责任编辑人:CC
欢迎分享,转载请注明来源:内存溢出
微信扫一扫
支付宝扫一扫
评论列表(0条)