
2022年3月16日,致力于亚太地区市场的领先半导体元器件分销商---大联大控股宣布,其旗下品佳推出基于联发科(MediaTek)Filogic 130A(MT7933)的Wi-Fi 6 AIoT边缘计算语音识别方案。

图示1-大联大品佳基于MediaTek产品的Wi-Fi 6 AIoT边缘计算语音识别方案的展示板图
全球疫情的爆发加速了数字转型、智能物联网的发展进程。为有效对抗疫情,减少人们在日常生活中的直接触碰,非接触式技术被广泛使用在各大场景中。其中,语音识别技术作为非接触式技术的一种,其通过语音或语音命令与装置设备进行互动,在后疫情时代备受关注。基于此背景,大联大品佳推出了基于MediaTek Filogic 130A(MT7933)的Wi-Fi 6 AIoT边缘计算语音识别方案。该方案将先进的Wi-Fi和蓝牙功能与最新的语音处理和电源管理技术相结合,可为智能音箱、智能家居、家庭娱乐和汽车多媒体娱乐提供新的设计思路。

图示2-大联大品佳基于MediaTek产品的Wi-Fi 6 AIoT边缘计算语音识别方案的场景应用图
MediaTek全新无线连网系统单芯片Filogic 130A(MT7933)整合了微控制器、AI引擎、Wi-Fi 6和蓝牙5.2及电源管理单元(PMU)、独立音频数字信号处理器(DSP)等单元。其中,音频数字信号处理器(DSP)能够使设备制造商轻松地在其产品中添加语音助手和其他服务。凭借先进的功能与高集成度,本方案可为小尺寸装置提供节能、可靠及高效的网络连接,是各类物联网(IoT)装置的极佳选择。
不仅如此,Filogic 130A所具备的语音活动检测(VAD)技术也极具智能化。当其在检测到人类语音时,会自动忽略音频中的静音片段,从听到人类语音后才会进行音频处理以达到低功耗目的。且无论是设计简化的单一麦克风,或是多个矩阵麦克风,Filogic 130A皆能进行回音消除AEC(AcousTIc Echo Cancelling)、远场处理(Far-Field Process)等功能来增强语音识别。

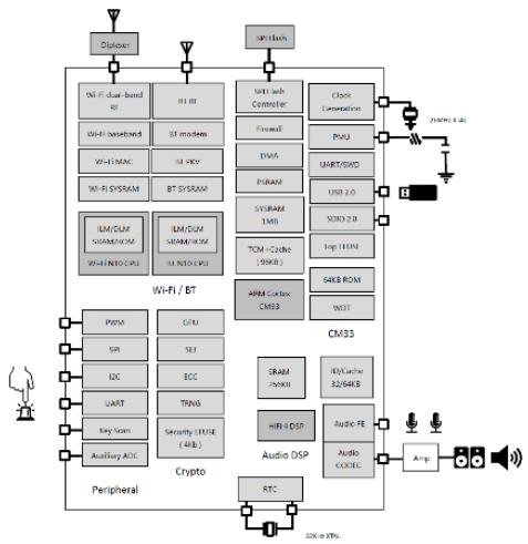
图示3-大联大品佳基于MediaTek产品的Wi-Fi 6 AIoT边缘计算语音识别方案的方块图
除此之外,Filogic 130A也支持本机语音命令,通过预先定义的语音指令,即使在无网络连线、网络延迟情形下,一样能轻松通过语音命令来控制设备。如:控制灯光、音量以及播放、暂停音乐、前后首等音频控制。
核心技术优势:- 联发科技MediaTek全新无线连网系统单芯片Filogic 130A(MT7933),整合独立音频数字讯号处理器(DSP),可便捷地为产品增加语音助理等服务。使用的HiFi4 DSP具有3个ADC / 2 DAC和专用SRAM,可提供超低功耗、Always-On的麦克风功能,具有语音活动检测(VAD)和唤醒词(Wake Word)支持功能。
- 大联大品佳集团提供全方位技术支持,从前期开发设计适合的音讯硬体、增减修改预定义的本机语音命令及调整音频处理效能。量产阶段的无线连接效能测试等。
应用处理器:
- ARM®Cortex-M33 MCU具浮点运算,运作时脉300MHz;
- 1MB嵌入式SRAM和8MB虚拟SRAM(PSRAM);
- 支持外接serial flash达16MB,支持就地执行(XIP);
- 网络安全硬件加密引擎包含AES、DES/3DES、SHA、ECC、TRNG;
- 支持47组GPIOs多工切换SPI,I2C,Aux ADC,UART,及GPIO功能;
- 支持12 DMA channels。
音频数字讯号处理器(DSP):
- Cadence®Tensilica®HiFi4处理器,运作时脉600MHz;
- Audio Codec具有2组ADC及1组DAC;
- 256KB内嵌SRAM memory;
- 语音活动检测(VAD)和唤醒词(Wake Word);
- 3.5mm音频埠外接主动式喇叭。
Wi-Fi技术规格:
- 双频段IEEE 802.11 1T1R a/b/g/n/ax 5GHz及2.4GHz;
- 2.4G/5GHz频带,20MHz频宽MCS0 ~ MCS8。
蓝牙技术规格:
- 符合Bluetooth v5.0,传输速率2Mbps PHY,支持长距离Long-range及LE AdverTIsing Extensions。
欢迎分享,转载请注明来源:内存溢出
微信扫一扫
支付宝扫一扫
评论列表(0条)