
网状网络是家庭的理想设计解决方案,但在设计和实施中需要考虑一些因素。创建网状网络可以轻松添加新设备,因为新设备连接到最近的邻居并轻松扩展网络的整体覆盖范围。然而,这需要一个更复杂的身份验证过程,该过程必须在整个网络中而不是在中央集线器中实施。在添加新设备扩展范围的同时,它也减少了每个节点可用的带宽。这是因为数据必须与来自相邻节点的数据一起从一个节点跳到下一个节点。如果许多节点同时处于活动状态,带宽可能会急剧下降。这对于高带宽应用可能是个问题,例如用于无线安全的流式视频或智能家居中的监控摄像头,
IEEE802.15.4 协议可能是家庭中最完善的网状网络开放标准,ZigBee 实现在未经许可的 2.4 GHz 频段用于全球数百万个节点。在最新版本中,它已更新为包括每个节点的 IPv6 寻址,并通过从环境中收集能量来支持超低功耗运行。
ZigBee PRO 网络由多种不同类型的设备组成。ZigBee 协调器控制网状网络的形成和安全性,而路由器扩展网状网络的范围并连接到智能家居中特定传感器或控制器的终端设备。这些功能可以很容易地组合在单个设备中,例如与控制灯具并将消息路由到网络其余部分的设备。然而,这也允许端节点尽可能简单和低成本。

图 1:智能家居中的典型 ZigBee 网状网络包括许多不同的功能,可以集成到单个设备中。
图 1 所示的示例 ZigBee 拓扑包括一个协调器、五个路由设备、两个创建控制网络的终端设备和一个可选的组合协调器/网关,提供对 Internet 的访问。例如,在智能家居中,协调器可以是家庭影院控制系统,为房屋周围的照明和安全提供额外的智能支持。
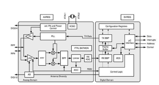
Atmel的ATmega2564RFR2是一款低功耗 8 位微控制器,结合了高数据速率 2.4 GHz 收发器,可用于在智能家居中构建具有成本效益的 ZigBee 端点。该控制器使用 AVR 哈佛架构,允许在单个时钟周期内执行指令,并实现接近 1 MIPS/MHz 的吞吐量。这允许系统设计人员平衡功耗(例如基于电池的节点)与性能。
无线电收发器提供从 250 kbit/s 到 2 Mbit/s 的数据速率,连同帧处理,可用于网格中以提供 250 kbit/s 的最小网络数据速率。该收发器提供晶体稳定的小数 N 合成器,支持完全直接序列扩频信号 (DSSS) 处理,具有完全兼容 IEEE802.15.4-2011/2006/2003 协议和 ZigBee 标准的扩频和解扩频坐在上面。-100 dBm 的接收器灵敏度和从 -17 dBm 到 +3.5 dBm 的可编程发射输出功率允许设计人员在整个智能家居中选择长达 100 m 或更低功率运行的远程链路。

图 2:ATmega2564 中的无线收发器直接连接到 AVR 控制器内核以简化节点设计。
单芯片系统包括简化节点设计的所有元素,从内部电压调节到电源管理以及直接连接到 AVR 内核。它有 32 个通用 8 位寄存器,直接连接到算术逻辑单元 (ALU)。这允许通过在一个时钟周期内执行的单个指令访问两个独立的寄存器。这提供了非常有效的代码来保持低 RAM 内存,同时仍然实现比传统 CISC 微控制器快十倍的吞吐量。
ZigBee 节点设计的一个关键要素是与传感器或控制器等外围设备的连接。这是通过图 3 所示的两线串行接口 (TWI) 处理的,它允许系统设计人员使用两条简单的双向总线连接多达 128 个不同的设备,一条用于时钟 (SCL),一条用于数据 (SDA) )。实现总线所需的唯一外部硬件是每个 TWI 总线线路的单个上拉电阻。所有连接到总线的设备都有单独的地址,这简化了数据传输,并且任何总线争用的解决都直接在 TWI 协议中处理。

图 3:两线接口 (TWI) 简化了 ZigBee 网状节点中外设的连接。
TWI 上的地址包长 9 位,有 7 个地址位、一个 READ/WRITE 控制位和一个确认位。如果设置了 READ/WRITE 位,则将执行读 *** 作,否则应执行写 *** 作,这样可以避免任何总线争用。
另一个关键因素是功耗。这是通过一系列不同的电源管理模式在芯片中解决的。空闲模式会停止 CPU,同时允许 SRAM、定时器/计数器、TWI 端口和中断子系统继续工作,以便外部传感器仍然可以将数据传送到设备。掉电模式保存寄存器内容但冻结振荡器,禁用所有其他芯片功能,直到下一次中断或硬件复位。在待机模式下,RC 振荡器正在运行,而器件的其余部分则处于休眠状态,这允许快速启动。
ZigBee 网络支持多达 64,000 个单独的设备,这对于智能家居来说可能是多余的。蓝牙现在正在研究如何通过软件升级使用现有的蓝牙接收器来提供类似于 ZigBee 的网状网络功能。这将允许通过连接到一个设备的智能手机访问家庭周围的蓝牙网络,然后通过网格连接到所有其他节点。
Texas Instruments 的 CC2564 独立蓝牙收发器既针对传统蓝牙链路,也针对最新的蓝牙低功耗 (BLE) 4.1 协议。为简化节点设计,免版税软件蓝牙堆栈已与连接到收发器的 TI 的 MSP430、ARM Cortex-M3 和 Cortex-M4 微控制器集成。该架构允许第三方开发人员在 BLE 堆栈之上添加自己的网格功能,以实现智能家居连接。

图 4:德州仪器 (TI) 的 CC2564 连接到可用于实现网状网络协议的外部微控制器。
为了进一步简化智能家居中蓝牙节点的设计,Silicon Labs 的BGM111蓝牙智能模块将收发器和控制器集成在一个模块中,该模块还可以托管最终用户应用程序。这意味着不需要外部微控制器,从而使无线节点更小、更便宜。它还被设计为具有灵活的硬件接口,可以轻松链接到不同的外围设备或传感器。
该模块可以使用标准的 3 V 纽扣电池供电,还可以提供高达 +8 dBm 的发射功率,以允许节点设计人员在范围和功耗之间进行权衡。通常,一个模块具有一组严格定义的 I/O 引脚,这可能会限制设计与外部传感器接口的选项。使用 BGM111 模块,可以将 25 个引脚组织成端口,每个端口最多有 16 个引脚,这些引脚可以单独配置为输出或输入引脚,也可用于开漏、开源或毛刺过滤配置。

图 5:BGM111 模块中的外围反射系统是一个内部交叉开关,允许在蓝牙网络节点中实现高度灵活的 I/O 结构。
这来自一个称为外围反射系统的内部信号交叉开关,如图 5 所示。该交叉开关允许将各种外围功能自由分配给任何 GPIO 焊盘,从而简化应用板布局。这意味着同一个模块可以轻松地用于网状网络中的各种节点,并重新配置 GPIO 线路以支持不同应用中的不同电路板布局。
结论
作为一种以合理成本通过家庭提供智能网络的方式,网状网络正变得越来越流行。在 ZigBee 设备不断创新并在现有网络控制器和经过良好测试的网状软件基础上构建的同时,蓝牙现在也通过专用收发器和模块进入这一领域。这为设计人员提供了更多机会来修改和优化网状应用的蓝牙堆栈,或利用灵活的集成模块。所有这些都有助于将更多智能无线功能带入家庭。
欢迎分享,转载请注明来源:内存溢出
微信扫一扫
支付宝扫一扫
评论列表(0条)