
霍尔器件通过检测磁场变化,转变为电信号输出,可用于在汽车等应用中监测位置、位移、角度、角速度、转速等运行参数的变化。随着对于能效的要求越来越高,需要对这些参数进行更精准地测量。Allegro公司的A1262 2D 双通道霍尔效应传感器 IC 采用 5 引脚 SOT23W 表面安装型封装,或者4 引脚 SIP 通孔封装,可在传统平面磁场方向以及垂直磁场方向运行(见图1),中心位置平面和垂直霍尔元件的双重 *** 作有下述优势:
正交
输出间固有的 90° 相差使正交磁极距和气隙独立 较小的封装尺寸降低了PCB 尺寸以及有效总气隙 (TEAG) X-Z 选项提供更小的有效总气隙 (TEAG) 尺寸感应 机械设计灵活性,可根据可用性和 / 或成本自由选择环形磁体 由于使用 SMT 器件可实现面内传感,通孔器件有可能被替代。

图 5:A1262LLH-X 传感使用 X 方向垂直霍尔元件与 Z 平面霍尔元件协同工作。
Z 轴平面霍尔(红色显示)正面可使用(A 图)。X 轴垂直霍尔(绿色显示)正面可使用(B 图)。
Y-Z 配置(图 6)中,安置霍尔元件用于检测平行于跨引线侧(Y 轴)封装面的磁场和垂直于封装面(Z 轴)的磁场。配置垂直霍尔以感应磁极(正面)。传统双通道器件,如 A1230 和 A3425,采用图 6 中任何配置(A 或 B)都无法感应环形磁体。

图 7:X-Z(A 图)与 Y-Z(B 图)配置的有效总气隙优势。
双输出
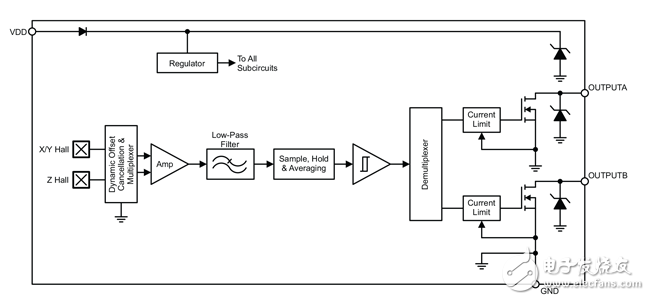
A1262 是双输出传感器,其输出时采用垂直霍尔元件(X 或 Y)和平面霍尔元件 (Z),位于两处独立输出引脚(分别是 OUTPUTA 和 OUTPUTB)。这是用过信道的时分多路复用实现的。参阅图 8 方框图。各信道每隔约 16 μs(典型值)采样,以便信道趋稳,因此两个信道大约每 32 μs 可进行更新。参阅图 9。
A1262 采样率采用相对较快的时分多路复用,可承受高磁输入频率,可适用于大多数应用。请联系您的 Allegro 代理获取更多有关高频应用适应性的信息。

图 9:时分多路复用的耗时。
各输出更新前信道趋稳时间。
固有正交
平面元件和垂直元件本质上位置相同,这种传感技术减少了环磁体为实现正交(输出信道间 90° 相差)的目标优化需求。
双平面传感器 IC 只含两个正交信道,而环磁体极对间距是霍尔元件间距的 4 倍。

图 11:大间距环形磁体的正交

图 13:相差随切向偏移变化
结论
A1262 包含新型垂直霍尔传感技术,为转动环形磁体和电机的应用提供理想解决方案。相比现有的双通道霍尔锁存器 IC,采用 A1262 进行设计就容易得多,整体系统配置和机械封装的限制更少、选择更多。二维双通道磁感应器 IC 提供绝无仅有的灵活性,减少了环形磁体目标输出正交的优化需求,同时,可选择两种不同的垂直感应轴,为 IC 和 PCB 安装提供更多选择。
设计者可在四种传感方向中任意选择,也可在表面贴装 (LH) 或通孔封装 (K) 之间选择。 无论环磁体如何设计,2D 传感提供固有的输出信号正交,可选择使用其他应用中现有的环磁体,或选择现成的环磁体。 与旧式双通道器件(包括采用 SOT 封装的器件)相比,X-Z 选项提供的是改进版 TEAG。 相较使用通孔 (SIP) 封装传感器的旧式器件,表面贴装器件面内传感功能的使用造就了更加小巧的设计、更轻质的系统和更精简的装配步骤。
欢迎分享,转载请注明来源:内存溢出
微信扫一扫
支付宝扫一扫
评论列表(0条)