
可编程SOC器件不但可作为电机控制、模拟测量以及直接驱动LCD显示屏的统一电路板系统用于电动自行车应用,而且还能支持电容式感应技术以取代键盘上的机械按键。此外,SOC器件还能利用内部PWM、MUX和比较器来驱动和控制三相电机,利用内部ADC和PGA来支持传感器输入电池监控,以及利用热敏电阻或RTD等温度感应器件来实现温度感应。该器件不但能直接驱动继电器,以支持刹车灯、车头灯和转向灯,而且能直接驱动LCD显示屏,以显示温度、电池状态、速度、骑行距离及各种错误/警告消息等。
采用基于IDE的工具,可为SoC设计出各种界面和逻辑。这些工具还能提供直接可用的组件模块,可用于设计更为复杂的逻辑,如监控界面的电容式传感器、支持模拟传感器和其它输入的ADC、驱动蜂鸣器的PWM、DAC以及段式、字符或图形化LCD显示屏等。因此,利用可编程SOC,电动自行车系统的开发和生产成本能够大幅降低。

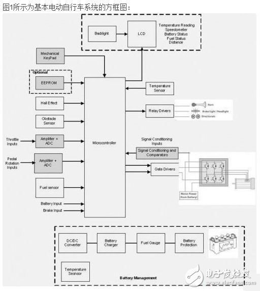
微控制器:微控制器通常用于不同传感器输入检测(如节流阀输入、温度传感器、电池输入、燃料传感器、障碍传感器等)、模数转换、输出比较组件等,并可驱动和控制三相无刷车用电机。采用电池供电的电动自行车系统需要超低功耗的微控制器。此外,微控制器也是中控锁系统的一部分,可用来与车辆中使用的各种不同外部器件进行通信。无论何时刹车,均可使用微控制器来自动停止电机旋转,从而避免电机磨损刹车片的速度超过标准的人力自行车。
轮毂电机:通常情况下,无论有无传感器(基于霍尔效应),均可采用无刷电机实现高效可靠的运行工作。
可再充电的铅酸/锂离子电池:电动自行车应用采用了从铅酸电池到锂电池等多种不同的电池类型。其中,可再充电的铅酸电池在电动车中的应用极其广泛。
显示屏与键盘:通常情况下,采用带背光的LCD显示屏不但能显示温度、电池输入、速度、骑行距离及错误/警告消息等,而且还能显示脚踏板辅助系统和能量生成的等级。电动车应用中也采用基于机械按键的键盘,而且键盘还可支持保护电动车的防盗功能。
电源管理:这个子系统可为各功能模块的运行提供电源,并监控电池工作。带比较器和分立逻辑的主机微控制器可用来管理铅酸电池。此外,这种方法也能为微控制器和用户提供关于电池的安全和关键信息。
原理
目前的电动自行车系统采用16位和32位微控制器。微控制器控制和管理车辆的所有功能和特性。一旦用户打开点火开关发动电动自行车,微控制器就能获得输入,从而启动三相无刷车用电机。微控制器可接收来自用户的各种车辆输入信号,并对车辆进行相应的 *** 控。微控制器按照用户所选择的速度驱动三相无刷车用电机,电机的速度可根据用户的加速和制动传感器输入进行变化和控制。
微控制器采用内部或外部串行EEPROM(I2C/SPI型)来存储距离读数等数据。此外,微控制器还采用实时时钟(RTC)在显示屏上显示准确的时间。
温度测量由板上RTD或热敏电阻型温度感应器件来实现。电动自行车系统还能利用障碍传感器在泊车时获取附近车辆的信息。燃料传感器获取引擎中的燃料信息,微控制器也可监控电池输入并将其在LCD显示屏上显示。继电器驱动电路则用于切换刹车灯、车头灯和转向灯的开/关等。
供电部分由作为电源的可再充电铅酸或锂离子电池组成,且必须满足电池充电器的规定。电池输入向下转换为DC电压,以便为微控制器和其它电路提供动力。点火开关则可启用或禁用板上稳压器。此外,供电部分还可提供电池、过流、过热及启动故障状态保护电路等多种保护功能。OEM厂商也会对手机等外部设备的充电做出相应规定。

电动自行车系统的实现
为给出电动自行车系统的实际实现方案,本文介绍了一款基于赛普拉斯PSoC 4的设计。PSoC 4器件完美集成了带数字可编程逻辑的微控制器、高性能模数转换、带比较器模式的运算放大器以及标准的通信和时序外设等。微控制器为32位的ARM Cortex M0,工作频率高达48 MHz,并可提供最大32 KB的闪存和最大4 KB的SRAM以及2 KB的内部EEPROM.
该实现方案采用板上6个P型通道(P-Channel)MOSFET和门驱动器电路来驱动三相无刷电机。PSoC 4器件带有内置PWM、时钟、多路转换器和比较器,可用来驱动和控制三相无刷电机。此外,内置的16位PWM将用于驱动控制电机的FET门驱动器电路。而 PWM的占空比根据用户设置所需的速度而各不相同。
PSoC4带有内部运算放大器、PGA、比较器和12位1MSPS SAR ADC,可提供差动和单端模式,包括采样保持(S/H)功能。ADC可通过改变PWM占空比来控制电机速度,并测量不同的传感器输入以满足电池监控、低成本温度感应、障碍感应和燃料感应等需求。这样系统就无需采用任何外部放大器、ADC或比较器。
利用两个电流DAC(IDAC),该系统可具备通用感应功能,且能够利用任何引脚上的电容式感应技术。PSoC 4架构支持电容式感应组件,该组件同时支持手动和自动调校。采用电容式界面可帮助整个电动自行车系统实现防水性,同时也能直接驱动继电器,从而充分满足喇叭、刹车灯、车头灯、转向灯和LCD显示屏等需求。该器件的工作电压范围介于1.71V到5.5V之间,能与其它外部外设轻松连接,从而实现更多功能。此外,PSoC 4还支持两个独立的在运行中可重配置串行通信模块(SCB),此模块带可重配置的I2C、SPI或UART功能,可用于内外部外设通信。
该实现方案采用可再充电的铅酸或锂离子电池作为电源。输入电压通过板上降压稳压器进行下变频转换。1.71 V的较低工作电压和超低功耗运行,再加上冬眠和深度休眠模式,可支持唤醒时间和功耗折中方案,从而实现更长的电池使用寿命。
采用PSoC Creator IDE工具,我们能通过随时可用的组件模块设计出所有的接口和逻辑,包括面向模拟传感器和其它输入的SARADC和PGA;面向电机驱动应用的PWM、 CLK、MUX和比较器等组件;面向直接驱动字符和段式LCD的组件;面向电动自行车应用中CAN协议接口的CAN组件;以及通过内部系统时钟进行实时测量、从而让系统不再需要外部时钟/振荡器电路的RTC组件等。
此外,PSoC Creator还支持工程师访问包括集成编译器工具链、RTOSes和量产编程器在内的完整的工具生态系统。有了PSoC Creator,开发人员就可利用分层原理图设计创建并共享用户自定义的定制外设。然后,他们能对所选定的组件实现自动布局布线,并集成简单的粘接逻辑 (通常位于分立多路转换器中)。
过流保护用于关闭电机驱动PWM,因而可停止电机运行。PSoC 4器件采用基于比较器的PWM Kill信号触发,可在检测到过流情况时终止电机驱动。该模块的输入来自总线电流,其截止参考可设为电机消耗的最大电流。总线电流输入馈送到比较器和可配置的截止参考,并由DAC进行设置。如果总线电流低于参考阈值,那么比较器输出设为高。比较器输出连接到PWM的“KILL”信号输入。当“KILL”输入为高时,PWM输出关闭,从而可避免电机受损。该完整模块的实现方案将采用PSoC creator组件,且无需设计人员编写的任何固件。
无传感器的电机控制
无传感器的电机控制不需要霍尔传感器,而是采用反电动势(back-EMF)过零检测技术来控制电机的运动。当电机旋转时,每个绕组生成的电压称为与绕组供电主电压相反的反电动势电压。反电动势的极性与绕组激励所用电压的方向相反,并与电机的转速成正比。

在图3中,三相反电动势信号终止而DC总线扩展并路由到PSoC.PSoC将采用多路复用器切换到比较器的终止输入,并将其与DC总线电压进行比较。级联的数字逻辑将过滤出PWM信号,以获得真正的过零信号。微控制器将根据该信息决定换向。
可选的电流控制将被应用于PWM输出控制,从而对电机电流进行调节。此内环以比较器为基础:反馈总线电流与12位DAC提供的参考电流值进行比较。改变DAC输出将修改输出电流值。
基于传感器的(霍尔效应)电机控制
基于传感器的无刷电机控制采用霍尔传感器输入来检测转子位置,进而控制电机的运动。它为微控制器提供霍尔传感器输入,并作为闭环系统工作,这有助于实现较长驱动的自动速度锁定。
设计挑战
高性能智能微控制器需要更高MIPS性能的CPU内核、更快速的ADC(》= 500Ksps 10位)、内置闪存和SRAM存储器、内置EEPROM、模拟和数字外设来执行高性能模拟测量、CAN接口、三相电机控制、LCD驱动、低功耗运行、 RTC、不同外部协议接口等关键功能。
该系统可采用低成本前面板设计,实现按键和LED/LCD界面等不同特性。此外,电容式感应技术可用于在前面板上实现按键、滑条和接近传感器。在前面板上利用邻近的LED(PWM型)满足电容式感应性能要求(如信噪比等),这对于系统设计人员来说可能是一大设计挑战。
选择具有低Ron和低栅电容的Power MOSFET正是驱动三相电机所必需的。采用高功率MOSFET驱动电路设计电路板以及处理电池输入的较高板上电流是电路板设计人员面临的另一大挑战。由于该系统涉及机电构造问题,要设计出一款低成本的紧凑型机电系统极具挑战,而且还要让最终设计通过认证。此外,电动自行车系统在设计时需要考虑一次充电能行驶更长里程的问题。
支持恢复机制的故障检测是所有汽车应用都不可或缺的。而且,具有电池保护、过流、过热和启动故障状态保护功能的电源设计也是一大必要条件。
此外,开发人员可能还希望采用一次性可编程(OTP)的器件来防止竞争对手和黑客对固件实施逆向工程。
系统局限性
PSoC 4支持电容式感应技术,可通过触摸 *** 控的键盘取代机械按键。这不仅可减少由机械按键造成的故障几率,同时还可提高产品的可靠性。PSoC Creator支持CapSense SmartSense组件,该组件能自动调校电容式感应按键和滑条的敏感度,从而使开发人员无需再进行手动调校。此外,电容式感应还能提高最终系统的防水性。
在前面板上实现的触摸屏设计取代了LCD显示屏和键盘,这可为用户提供更好的用户界面和更高的灵活性。系统还可添加连接iPod/iPhone等外部设备的接口,通过UART或USB接口实现与媒体播放器的通信,从而支持播放音乐、控制播放列表和设备充电等功能。
故障分析和返回材料:电路板上内外部接口数量的增加必然会让入侵者获得更多途径来对系统实施破坏。这也是嵌入式系统面临的一个最大局限性问题。
在汽车应用领域中所使用的电动自行车系统目前是采用微控制器来实现。PSoC完美结合了微控制器和ASIC.采用基于PSoC的电动自行车解决方案,可帮助我们降低汽车产业的整体产品成本(通过减少BOM成本)和项目开发成本(采用PSoC Creator来实现)。
欢迎分享,转载请注明来源:内存溢出
微信扫一扫
支付宝扫一扫
评论列表(0条)