
1、图像增强IP简介
Xilinx的Vivado中集成的图像增强(Image Enhancement)IP可以有效降低图像噪声并增强图像边缘。该IP使用了2D滤波方式,可以在达到更好的图像噪声抑制同时,保留并增强图像边缘。
如图所示,对于一个比较经典的图像前端处理,图像增强常常也是一个必不可少的步骤。在我们这个实例中,我们需要设计一个右侧图示红圈内的图像流处理。即RGB toYCbCr模块、图像增强模块、YCbCrto RGB模块,这3个模块都有可用的IP核。

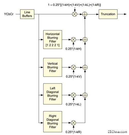
图像增强IP的功能框图如下所示。该IP输入和输出的图像数据必须为YUV444或YUV422模式;待处理图像进入IP后,首先需要多行缓存,然后分别通过降噪(Noise ReducTIon)模块和边缘检测与增强(Edge Map Morphology和Edge Enhance)模块。完成处理后的图像再拟合在一块,最后会通过可选的光环抑制(AnTI-halo)和锯齿消除(AnTI-alias)模块,完成最终图像输出。边缘增强和噪声抑制实际上是两个完全相反的图像处理方式,为了保证两个模块能够更好的实现增强图像的效果,在这个IP中,第一步做的是图像的形态检测(Edge Map Morphology),然后再根据这个结果,对图像中需要降噪的部分和边缘增强的部分分别处理。

1.1 图像形态检测
图像形态学检测是整个图像增强的第一步,它用于指示后续需要对图像进行降噪或边缘增强 *** 作。图像形态学检测主要包括下面两步:
①经过二维的FIR滤波器,从水平、垂直以及两个对角共4个维度提取边缘信息。
②使用拉长、正交的结构单元和形态学处理,用于提供清晰的各个方向边缘信息。
1.2 降噪处理
降噪处理是基于中心像素点以及特定的临近像素点的滤波实现的。算法实现类似高斯的定向低通滤波。噪声门限由IP核的设置决定。图像形态检测信息标定出的边缘不会做任何的降噪处理。

1.3 边缘增强
IP核设定的边缘增强参数决定了边缘增强的幅度。根据边缘检测形态信息,边缘增强模块对标记处的边缘做拉普拉斯滤波,实现边缘增强效果。

1.4 光环抑制与锯齿消除
光环抑制(AnTI-halo)和锯齿消除(Anti-alias)模块是可选的功能块。前面进行噪声抑制和边缘增强后的图像,可能存在图像边缘被放大或抑制的情况。光环抑制和锯齿消除,是通过判断每个新的像素值与原图像的像素值以及邻近8个像素值的比较,以判断其是否需要进行相应的处理并实现图像的优化。
如图所示,原图(左侧)在图像增强后可能出现光环现象(中间),那么经过光环抑制后图像(右侧)就能够实现最优化。
2、测试激励说明
使用at7_img_ex08matlab文件夹下的Matlab源码image_txt_generation.m产生作为FPGA仿真输入的测试图像数据,存储在image_in_hex.txt中。FPGA仿真测试后,产生图像增强数据存储在FPGA_Enhenchment_Image.txt中,使用Matlab的draw_image_from_FPGA_result.m脚本则可以比对图像增强前后的效果。

3、 IP添加与配置
Vivado的IP Catalog中,Video & Image Processing分类下,可以看到有很多可用的图像处理IP核。我们需要用到的RGB toYCbCr、Image Enhancement和YCbCrto RGB这3个IP核,都在该分类下可以找到。

3.1 RGB toYCbCr IP配置
Feature配置页面中,设置图像位宽8bit,分辨率为640*480,YUV格式,输出图像取值范围0~255即可。

Custom配置页面中,可以看到RGB toYCbCr转换的基本公式参数。

3.2Image Enhancement IP配置
配置页面很简单,设定好图像位宽8bit,图像分辨率640*480,图像噪声抑制(Image Noise Reduction)水平(取值0~255),图像边缘增强(Image Edge Enhancement)水平(取值0~1.0),以及可选的光环抑制(Halo Suppression)和锯齿消除(Anti-Alias Filtering)。

3.3 YCbCrto RGB IP配置
Feature配置页面中,设置图像位宽8bit,分辨率为640*480,YUV格式,输出图像取值范围0~255即可。

Custom配置页面中,可以看到YCbCr to RGB转换的基本公式参数。

4、FPGA仿真
Vivado打开zstar_ex70工程,在Sources面板中,展开Simulation Sources à sim_1,将at7_image_enhance_sim.v文件设置为top module。点击Flow Navigator面板的Simulation à Run Simulation打开仿真页面,matlab产生的原始图像数据image_in_hex.txt需要放置在at7.sim文件夹下,仿真测试结果位于at7_img_ex08at7.simsim_1ehav文件夹下。
在设定Noise Threshold = 192,Enhancement Strength = 0.0,Halo Suppression = 0.125时,比对图像如下。
在设定Noise Threshold = 192,Enhancement Strength = 0.125,Halo Suppression = 0.75时,比对图像如下。
在设定Noise Threshold = 192,Enhancement Strength = 1.0,Halo Suppression = 0.75时,比对图像如下。
责任编辑:gt
欢迎分享,转载请注明来源:内存溢出
微信扫一扫
支付宝扫一扫
评论列表(0条)