
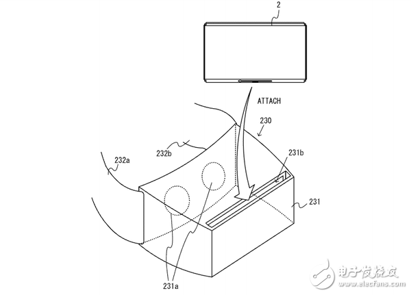
NeoGam论坛的会员刚刚披露了一批任天堂为Switch游戏机申请的新专利,其中一项表明SwTIch可能支持虚拟现实功能。根据该专利,任天堂将把Switch变成一台大号Daydream View或Gear VR——用户可以直接将其固定到眼罩上,并使用该游戏机的手柄进行控制。
但由于这只是一项专利申请文件,所以并不保证任天堂一定会在明年3月发布Switch时提供虚拟现实功能。任天堂可能只是通过申请这样的专利避免对手部署类似的概念。

但尽管如此,这项功能仍然非常符合逻辑,而且要在Switch上增加基础的虚拟现实体验也并不困难。外界目前唯一担心的是这款设备的画质和处理能力:如果Switch的分辨率不超过1080p,CPU速度也不够快,就很难提供令人满意的虚拟现实体验。
欢迎分享,转载请注明来源:内存溢出
微信扫一扫
支付宝扫一扫
评论列表(0条)