
随着节能成为全球范围关注的焦点,电机设计的能效也日益成为一个引人关注的问题。电机驱动产品不断配合行业发展的趋势,帮助设计人员提升能效、降低能耗、提高可靠性、减少元件数量等等,在实现节能方面发挥着积极的作用。
电机市场发展趋势
历经百年的发展,电机的应用领域已非常广泛。安森美半导体的电机驱动产品覆盖的汽车及工业等领域的应用,正是电机市场主要趋势的一个缩影。
首先是汽车电气化的趋势,即汽车制造商用集成的高能效电机替代传统内燃引擎动力,通常是用无刷直流(BLDC)电机替代皮带和齿轮驱动,用于引擎盖下的辅助元件,如泵、阀、供暖及空调、风扇等。由于BLDC电机具有相当优异的性能,也开始进入传统上采用有刷直流(BDC)电机方案的其他应用。
另一个趋势是应用装配率的提升增加了电机的安装数量,如电机化供暖通风空调(HVAC)气瓣控制(主要用于有刷直流及单极步进电机)也开始应用于较低端汽车的HVAC系统。
BLDC电机在工业及电信中的应用也越来越普遍。典型应用包括风扇、鼓风机、泵及压缩机。BLDC电机的能效比交流电机或开关磁阻电机更高。BLDC电机能实现低成本变速应用,特别是用于集成了无传感器换相算法,从而能够省却外部传感器。
节能趋势对电机驱动应用的新要求
能源成本通常是电机整个寿命周期成本最主要的部分。因此,采用更高效的电机可以节约大量能源。
节能趋势对电机驱动的新要求包括几个方面,其一,能效是由所选择的电机技术及电机结构决定的,因此要求选择能将电能转换为机械能的比例提升至最高的电机。其次,要选择可以将驱动器的功耗降至最低并提高能效的驱动电路。其三,要通过提升电机驱动智能来实现优化的能耗方案。
此外,一些应用还要求系统中不使用有刷电机(使用步进或无刷直流电机);而使用无传感器换相(不使用电位计或霍尔传感器反馈)、嵌入运动控制算法 (用于低动力应用),将能效提到最高,降低可听噪声,改善电磁干扰(EMC)性能等。另外,还有一些应用需要将驱动电路与电机紧邻布设在机电致动器上,并通过总线(LIN、I2C等)连接至中央控制单元。
安森美半导体提高电机设计能效的创新解决方案
在快速、精确及动态的动作控制应用中,步进电机是越来越普及的一种选择。随着电机技术的发展,智能驱动器/控制器专用标准产品(ASSP)也涌现出来,能够高效地驱动这些电机。这些器件为设计人员提供了更加灵活的方案,开创了创新功能的空间,并发现了许多新的应用。
1. 双极步进电机驱动及控制器
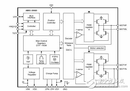
安森美半导体开发的AMIS-3062x系列的AMIS-30623就是高效驱动机电致动器中的双极步进电机的驱动及控制器。这款产品嵌入了专用有限状态机及针对先进前照灯系统(AFS)系统要求定制的本地互连网络(LIN)指令集。该器件集成了非传感控制检测功能,能提高可靠性,减少元件数量和板上空间,降低产品成本。AMIS-30623专为远程及多轴定位应用而设计,非传感控制检测功能的设计者能轻易完成精确的定位校准及半封闭式的循环 *** 作。
AMIS-30623的LIN接口使其适用于需要连接远程LIN主机的机械电子解决方案。这款产品的目标应用包括前照灯级测量、自动HVAC设计、监控摄像头控制、专业照明设备及工业机器人等。AMIS-30623的工作温度均为-40℃至125℃,可传输高达800 mA的可编程电流。芯片上的定位控制器可依监控类型、定位范围和参数的不同而修改配置。这款产品还具备电流保持特性。图1是AMIS-30623的框图。

AMIS-30623步进电机驱动及控制器框图
安森美半导体的AMIS-30624步进电机驱动器也可用于可移动式拍摄全景-上下摆动-放焦变大(PTZ)保安摄像机应用。该器件通过I2C总线以简单的微控制器驱动3个电机。该拓扑结构支持极紧凑的摄像机设计,有助于降低成本及提供精确的工作。
AMIS-3062x单芯片解决方案的核心是一个数字运动控制器和一个H桥布局的50mA至800mA双极两相步进电机驱动器。这种驱动器提供微步进(micro-stepping) *** 作,因此不再需要在速度、噪声和共振导致的失步(step loss)之间进行权衡。运动控制器提供可编程峰值电流,采用20kHz PWM电流控制方案。它还集成了系统通信接口,有LIN或I2C接口可供选择。在包括汽车工业在内的远程或分布式应用中,LIN架构可以减少布线和改善 EMC性能。配有I2C的器件更适合在独立PCB上与本地微处理器一起用作外围设备。
该系列器件的主要优点是,所有针对应用的运动控制功能都可以在厂内进行预编程,明显减少了工程师的编码工作。如果选择器件的闪存版本,还可以在开发应用及之后测试和调试软件时进行再编程。这将显著加快设计更新的速度。
2. 步进电机的精确动态控制
随着步进电机出现在越来越多的应用场合,设计人员也在继续追求高精度的定位。此外,其高能效、高性能及逐渐缩小的尺寸等特性,也使其对纺织机、机器人、计算机数控铣雕机等设备的吸引力与日俱增。安森美半导体的AMIS-305xx系列就是用于需要精确动态控制步进电机系统的ASSP,它能够以SPI 接口提供可变电机电流控制,进而实现精确的动态控制。
AMIS-305xx系列集成了转换器,将连续步长转换为所需的线圈电流(可通过查找表或其他方式)。该系列还集成了采用H桥配置的驱动器晶体管、反激二极管、经PWM的片上稳流,以及多种保护电路。图2是AMIS-30522应用框图。

AMIS-30522应用框图
该系列IC包含两个内置H桥,能够以最高达1600mA的电流驱动双相步进电机。速度和负载角输出使主微控制器能够检测阻转转子和运行结束状况,而无需额外的开关、霍尔(Hall)传感器或光学编码器。除了停转检测,这些功能还允许设计人员为微控制器编程,以计算转子位置,并按要求动态调节电流或速度,以防止失步。它还完美实现了微步进,能够消除终点停止的噪声和震动,并在无需添加元件的情况下提升运动控制的精确度和可靠性。
在构建加工、汽车、安全和建筑自动化应用时,工程师不必再担心运动算法中的动力学设计,因为这些均已嵌入在ASSP中。他们只需设计电机的总体运动,而相关IC可以实现无传感器失速检测等先进特性,从而更进一步简化设计人员的工作,加快产品上市时间。此外,这些新的微型步进电机驱动器还可使设计人员用最少的元件和最低的材料成本快速而简便地完成动态运动应用。
3. 其他电机驱动控制解决方案
安森美半导体的NCV770x系列驱动器也常用于驱动HVAC电子控制单元中的气瓣。这个系列半桥驱动器提供了高性价比的方案,可以用串联或并联方式驱动多个有刷直流电机,同时也完全满足了寿命周期内可靠性、诊断、电池供电瞬态等方面的最新汽车标准。
总结
高效节能是一个总的趋势,电机驱动器也正趋于成为大批量通用产品,而降低每个电机驱动器的成本及减小方案尺寸则是主要的动力。市场将会在高效的控制方式和成本之间获得一个动态平衡。
根据战略重点和对系统需求的理解,尤其是客户的需求,安森美半导体采用定制方法为客户提供从ASSP到客户专用集成电路(ASIC)的不同方案。这些解决方案将帮助中国市场上的消费电子、工业控制和汽车电子领域的电机应用设计人员获得更高的效率、更长的寿命、更佳的故障控制,使电机逐步实现了小型化、高效率、低噪声和更高的可靠性。
欢迎分享,转载请注明来源:内存溢出
微信扫一扫
支付宝扫一扫
评论列表(0条)