
微带天线的概念最早是由Deschamps 于1953年提出来的,但是一直到二十年之后,随着天线理论的发展,和覆铜介质板光刻技术的发展,实际的微带天线才制作出来。由于微带天线重量轻,体积小,平面结构可以和PCB电路集成等有点,微带天线得到了广泛的研究和应用。

微带天线(microstrip antenna)在一个薄介质基片上,一面附上金属薄层作为接地板,另一面用光刻腐蚀方法制成一定形状的金属贴片,利用微带线或同轴探针对贴片馈电构成的天线。微带天线分2 种:①贴片形状是一细长带条,则为微带振子天线。②贴片是一个面积单元时,则为微带天线。如果把接地板刻出缝隙,而在介质基片的另一面印制出微带线时,缝隙馈电,则构成微带缝隙天线。
1.1 微带天线的辐射机理
微带天线的辐射是由导体贴片边缘和导体地板之间的边缘场产生的。具体机理如下图所示。详细的数学计算过程请参考《微带天线》一书。

1.2 微带天线的结构微带天线的结构比通常的微波天线有更多的参量,它的设计灵活性更高。为了设计出满足系统要求的天线,微带天线贴片的形状可以多种多样。但所有的这些天线都可以归纳为三个基本类型:微带贴片天线,微带行波天线和微带缝隙天线。1,微带贴片天线微带贴片天线是最常见的一种微带天线,其由介质基板,介质基板上的辐射贴片和介质基板下面的导电地板组成。其中辐射贴片可以设计成各种各样的形状。常见的如下图所示:

可能有很多人要问,为什么给出的贴片形状都是规则形状的?不规则形状的可以作为辐射贴片吗?当然可以。在没有电磁仿真软件的情况下,这些规则形状对于设计计算有很大的帮助。可以简化设计。在现在电磁仿真软件的帮助下,人们把辐射贴片设计成了各种各样的性转。比如汉字贴片《汉字天线,是“创新”还是“创伤”?》。小木匠想问问:如果没有仿真软件,您还会这么任性吗?

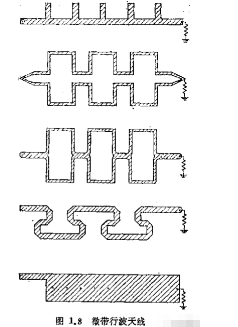
2, 微带行波天线
微带行波天线是由介质基片,基片上面的链形周期结构或者长微带传输线和介质基片底层的金属地板组成。在传输线的末尾接匹配负载,当天线维持行波发射时,可在结构设计上使主波束位于从边射到端社的任意方向。




3,微带缝隙天线
微带缝隙天线是由微带馈线和开在金属地板上的缝隙组成。缝隙可以是矩形,圆形或者任意形状。



1.3 微带天线的激励
常见的微带天线是在介质基板上面有金属辐射贴片,那么对于金属辐射贴片的常见馈电方式有微带线馈电和同轴馈电。因为微带天线贴片的阻抗不是50Ohm,那么在馈电设计时,需要进行阻抗匹配。常见的微带天线阻抗匹配方法是找到合适的馈电点。当然,馈电的方式不同,也会影响微带天线的辐射特性。
1, 微带馈电
常见的微带馈电有中心馈电和偏心馈电。馈电点不同,激励的工作模式也不同。

2,同轴馈电
同轴接头安装在微带天线的基板上,外导体与微带天线的金属地板相连接,内导体通常与微带天线的辐射贴片链接。通过寻找连接的最佳位置了设计天线的馈电。



1.3 微带天线的激励
常见的微带天线是在介质基板上面有金属辐射贴片,那么对于金属辐射贴片的常见馈电方式有微带线馈电和同轴馈电。因为微带天线贴片的阻抗不是50Ohm,那么在馈电设计时,需要进行阻抗匹配。常见的微带天线阻抗匹配方法是找到合适的馈电点。当然,馈电的方式不同,也会影响微带天线的辐射特性。
1, 微带馈电
常见的微带馈电有中心馈电和偏心馈电。馈电点不同,激励的工作模式也不同。

2,同轴馈电
同轴接头安装在微带天线的基板上,外导体与微带天线的金属地板相连接,内导体通常与微带天线的辐射贴片链接。通过寻找连接的最佳位置了设计天线的馈电。


责任编辑人:CC
欢迎分享,转载请注明来源:内存溢出
微信扫一扫
支付宝扫一扫
评论列表(0条)