
AD7147 ―新型电容器数码转换器,用于触控屏幕侦测功能
ADI 推出新型电容器数码转换器,是一款高整合度的触控控制器,允许设计人员迅速而容易地为可携式电子设备增加快速响应的用户控制,诸如卷轴轮以及触控鼠标板。新款AD7147为ADI应用于消费电子领域的CapTouch控制器家族最新产品,能提供高精密度测量与响应性,并增加主动屏蔽特性以改善噪音性能。
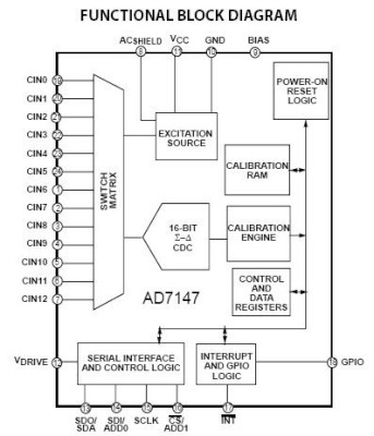
AD7147的全部功能都整合在一块印刷电路板上,这款新的电容器数码转换器是超薄行动电子设备的理想选择。可配置的AD7147电容器数码转换器具有13个电容器输入和fF级分辨率,允许行动电子设备设计人员实现触控鼠标板、卷轴轮、滑盖以及多达36个按钮。此外,AD7147还增加了主动屏蔽技术,使其免受电容器接地拾音器,以及系统中其它噪音源的干扰,因而使设计人员在远离系统主要集成电路的地方自由布置传感器。
AD7147的类比前端已经改进,同传统的AD714x产品相较,传感器响应提高3倍。改进的响应允许终端用户体验更精确的手指导航(finger navigaTIon)与提高的元件性能,同时继续为设计人员提供每讯息通道灵敏度调整,以进行传感器微调。AD7147包括内建灵敏度算法,对温度变化和湿度变化进行补偿,确保手指大小不同的用户接收同样响应的传感器性能。在全功率模式下,AD7147通常消耗1mA电流;在低功率模式下,它仅消耗50μA电流。这要比市场上与之竞争的产品低20%。此外,AD7147拥有号称业界最低的关闭电流,仅为2μA。AD7147为SPI兼容的串行界面,AD7147-1为I2C兼容的串行界面。
欢迎分享,转载请注明来源:内存溢出
微信扫一扫
支付宝扫一扫
评论列表(0条)